
Тактико-технічні характеристики підривника МВН-72
- Тип підривника
- неконтактно-магнітний
- Вага підривника
- 1.15 кг
- Вага вибухової речовини
- 10 г
- Тип вибухової речовини
- Тетрил
- Діаметр
- 125 мм
- Висота
- 96 мм
- Тип механізму дальнього зведення
- годинниковий
- Час дальнього зведення
- 30-120 с
- Час бойової роботи
- 1 місяць
- Температурний діапазон застосування
- -40 до +50 °C
- Джерело струму
- елемент ПМЦ-У-48ч (КБ-У-1.5)
- Спосіб встановлення
- вручну
- Гарантійний термін зберігання
- 5 років (без джерела струму)
- Забарвлення
- темно-зелене
Будова і принцип дії підривника МВН-72
Підривник МВН-72 складається з корпусу, в середині котрого розміщено годинниковий механізм дальнього зведення (з елементами вогневого ланцюга) та неконтактний магнітний датчик.

Корпус (позн. 1) вироблений з алюмінієвого сплаву. Згори на корпусі розташоване фігурне поглиблення, в котрому розміщені: кнопка (позн. 8) для пуску годинникового механізму дальнього зведення; відкидна ручка (позн. 2) для зведення пружини годинникового механізму і переведення підривника з бойового положення в транспортне; запобіжна чека (позн. 6) для фіксації кнопки та ручки в транспортному положенні. На відкидній ручці наявні два ребра з отворами, для встановлення шпильки (позн. 4) і проволоки з пломбою (позн. 3); циліндричний виступ (позн. 5) для фіксації запобіжної чеки.
Запобіжна чека (позн. 6) виконана у вигляді жорсткої сталевої пластини з вирізом, яка встановлена під кнопкою. До пластини приклепана засувка з отвором (котра надягається на виступ ручки при встановленні чеки) та пластинчаста пружина. При складському зберіганні, запобіжна чека закріплена шпилькою (позн. 4) і опломбована.
Зверху на корпусі підривника є два пази для штифтів ключа (мал. 3, б), котрим підривник вкручується в міну. Також на корпус нанесена стрілка, що вказує напрям обертання ручки при зведенні пружини годинникового механізму, і схема встановлення джерела струму. Збоку на корпусі підривника наявне гніздо для джерела струму, закрите різьбовою пробкою (позн. 7). На пробці виточено шліц для ключа (мал. 3, а), котрим відкручується (або закручується) пробка. На нижній частині корпусу нарізана зовнішня різьба для вкручування підривника безпосередньо в міну. Знизу в корпус підривника вкручено піддон (позн. 9) з детонатором.

Годинниковий механізм дальнього зведення слугує для зведення підривника з транспортного положення в бойове через 30-120 с після натискання кнопки. Пристрій годинникового механізму тотожний з пристроєм підривника МВЧ-62.
В транспортному положенні підривника (мал. 4, а) поворотний рушій (позн. 5), з піротехнічним уповільнювачем (позн. 7) і капсулем-детонатором ТАТ-1-Т (позн. 6), утримується в горизонтальному положенні виконавчим диском (позн. 9). Вогневий ланцюг розірваний, позаяк піротехнічний уповільнювач (позн. 7) відведений від електрозапалювача (позн. 1), а капсуль-детонатор (позн. 6) - від детонатора (позн. 4). Джерело струму та електрозапалювач (позн. 1) відключені, позаяк контактний шток (позн. 2) не замикає контакти (позн. 3).
При протисканні кнопки, стопор (позн. 8) виходить з отвору в диску (позн. 9) і звільняє його. Годинниковий механізм починає працювати і через 30-120 секунд виконавчий диск звільняє рушій. Рушій, під дією пружини, повертається в вертикальне положення. Таким чином, піротехнічний уповільнювач стає навпроти електрозапалювача, а капсуль-детонатор - навпроти детонатора. При повороті, рушій переміщує контактний шток (позн. 2), котрий замикає контакти (позн. 3) і підключає до електронного реле підривника джерело струму та електрозапалювач. Підривник стає в бойове положення (мал. 4, б).

Перехід підривника з бойового положення в транспортне виконується поворотом відкидної ручки по руху годинникової стрілки. При цьому зводиться пружина годинникового механізму, диск провертає рушій в горизонтальне положення, розриваючи вогневий ланцюг і розмикаючи контакти електричного ланцюга підривника. Після переводу підривника в транспортне положення, ручка повертається до початкового стану (відкидається в горизонтальне положення).
Неконтактний магнітний датчик забезпечує спрацювання підривника від впливу магнітного поля транспорту (танку, авто тощо), котрий проїжджає над місцем встановлення міни. Принцип дії підривника і взаємодія його основних вузлів показані на функціональній схемі (мал. 5). При протисканні кнопки (позн. 9) годинниковий механізм дальнього зведення (позн. 10) через 30-120 секунд переводить рушій з піротехнічним уповільнювачем (позн. 6) і капсуль-детонатором (позн. 7) в бойове положення і підключає через контакти (позн. 3) джерело струму (позн. 4) з електрозапалювачем (позн. 5) до електронного реле (позн. 2). При наїзді танку на міну, його магнітне поле наводить в індукційній котушці (позн. 1) сигнал, котрий передається на електронне реле (позн. 2). Електронне реле приймає цей сигнал і замикає бойовий ланцюг електрозапалювача (позн. 5). Своєю чергою, електрозапалювач запалює піротехнічний уповільнювач (позн. 6), котрий через 0.2 секунди викликає вибух капсуль-детонатора (позн. 7) і детонатора (позн. 8). Від детонатора детонація передається додатковому детонатору й заряду міни.

Заходи безпеки
При використанні підривника МВН-72 необхідно завжди пам’ятати, що підривник з встановленим джерелом струму і переведений в бойове положення спрацьовує:
- Від дії магнітного поля феромагнітних предметів, котрі рухаються неподалік від підривника (включно з невеликими предметами - зброєю, лопатою, сталевим щупом, уламками, чекою тощо).
- Від переміщення його в магнітному полі Землі.
- Від впливу магнітного поля, що виникає при роботі електричного струму поблизу підривника або від електромагнітних випромінювань що передають радіостанції.
Зберігання і транспортування підривників, спорядження підривників елементами живлення, спорядження мін підривниками, а також зберігання, транспортування та встановлення мін, споряджених підривниками - виконується лише в транспортному положенні (з запобіжними чеками).
Спорядження підривників елементами живлення і спорядження мін підривниками виконується у військах, на польових складах, при підготовці мін до безпосереднього встановлення.
Довготривале зберігання на складах (і транспортування залізницею) мін ТМ-72 і підривників МВН-72 виконується роздільно, в заводському пакуванні. Допускається тимчасове зберігання мін ТМ-72 і серії ТМ-62, споряджених підривниками МВН-72 (в транспортному положенні), на польових складах і транспортування їх на автомобілях в пакуванні для мін.
Встановлення мін з підривником МВН-72 необхідно виконувати на відстані:
- Від діючих ліній високовольтних передач - не ближче 200 метрів.
- Від діючих електрифікованих залізниць - не ближче 25 метрів.
- Від діючих потужних передавачів радіо чи радіолокаційних станцій - не ближче 200 метрів.
Зняття запобіжної чеки та протискання кнопки підривника МВН-72 виконується вручну, тільки після встановлення міни на місцевості.
Остаточне маскування міни та відхід від неї має виконуватись не пізніше ніж через 30 секунд з моменту натискання кнопки.
Забороняється:
- Знімати запобіжну чеку і протискати кнопку до встановлення міни на місцевості.
- Зберігати та транспортувати підривник і міни, споряджені підривниками, без пакування і запобіжних чек.
- Переміщувати міну пізніше за 30 секунд після протискання кнопки.
- Підносити до міни, переведеної в бойове положення, або прибирати від неї феромагнітні предмети.
- Шукати міни, переведені в бойове положення, щупами (навіть не металевими), позаяк при цьому можна зрушити міну з місця.
- Знешкоджувати (знімати) міни, в маскувальному шарі ґрунту можуть бути феромагнітні предмети.


Підготовка та встановлення
При підготовці до встановлення, підривники МВН-72 споряджаються елементами живлення струмом, а міни - підривниками. Підривниками МВН-72 можуть споряджатись не тільки міни ТМ-72, але й всі міни серії ТМ-62.
До використання в комплекті з МВН-72 рекомендуються міни ТМ-62, споряджені МС (“морська суміш”) або ТГА (торпекс), а також міни ТМ-62П та ТМ-62Д (повністю залита), споряджені тротилом, і міни ТМ-62Б, котрі мають потужніший заряд і забезпечують пролам дна танку при підриві.
Для спорядження підривника МВН-72 джерелом струму необхідно:
- Впевнитись, по маркуванню та огляду, що елементи живлення в робочому стані (придатними вважаються елементи КБУ-1.5, до кінця терміну придатності яких лишається не менше двох місяців, без ознак здуття корпусу або підтікання електроліту).
- Зачистити центральний контакт та денце елементу.
- Впевнитись, що підривник знаходиться в транспортному положенні, та відкрутити пробку (що закриває гніздо для елементу живлення) ключем (мал. 3, а).
- Вставити елемент живлення вперед центральним контактом в гніздо підривника (відповідно до схеми на кришці підривника).
- Закрутити пробку спочатку рукою, потім докрутити ключем до упору.
Для спорядження міни підривником МВН-72 необхідно:
- Відкрити пакування міни та дістати її.
- Дістати з міни пробку, котра закриває вічко для підривника.
- Впевнитись, що гумова прокладка розташована правильно (якщо прокладка змістилась - необхідно її поправити).
- Вкрутити в міну підривник і підтягнути його ключем (мал. 3, б).
З мін ТМ-72 та серії ТМ-62, споряджених МВН-72, встановлюються мінні поля:
- Три та чотирирядні з кроком мінування 8 метрів.
- Чотирирядні з кроком мінування 11 та 12 метрів.
- Дворядні з кроком мінування 5.5 метрів (тільки при встановленні мін серії ТМ-62 з розкладкою їх в ґрунт з допомогою ГМЗ-2).
Відстань між рядами мін в мінному полі - 10-40 м.
Мінні поля з мін ТМ-72 встановлюються вручну або розкладкою з авто. Дозволяється розкладка мін з авто, споряджених спеціальними лотками.
Міни ТМ-72 встановлюються:
- В ґрунт, в один рівень з поверхнею ґрунту.
- На поверхню ґрунту (взимку - на сніг).
- В сніг, з маскуванням шаром снігу до 15 см.

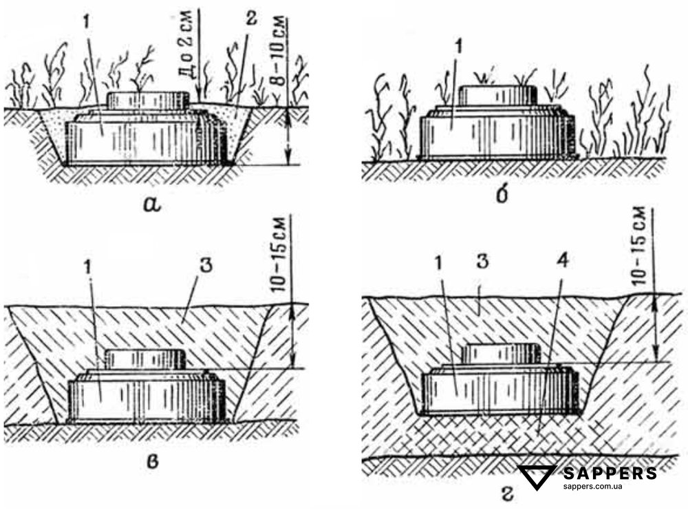
Маскування встановлених мін ТМ-72 здійснюється за допомогою навколишнього матеріалу (трави, листя тощо) або шаром ґрунту до 2 сантиметрів. Маскувати міну шаром ґрунту понад 2 сантиметри не дозволяється, позаяк це знижує уражаючу дію міни. Маскування снігом, шаром до 15 сантиметрів, на бронепробиття міни впливу майже не має. Міни, встановлені в ґрунт (сніг), стійкіші до дії ударної хвилі ядерного вибуху та заряду розмінування.
Для встановлення міни в ґрунт вручну необхідно (мал. 7, а):
- Вирити лунку глибиною 8-10 см по розміру корпусу міни.
- Встановити міну в лунку, а пустоти довкола міни збоку засипати ґрунтом; зайву землю, витягнуту при копанні лунки, необхідно замаскувати окремо, в заглибленнях місцевості.
- Замаскувати міну пригинанням трави, листям, присипати корпус міни шаром до 2 сантиметрів, пилом або іншим місцевим матеріалом під фон навколишньої місцевості.
- Перевести підривник міни в бойове положення і поправити маскування.
Для переведення підривника МВН-72 в бойове положення необхідно:
- Зняти з підривника пломбу і чеку з проволоки.
- Припідняти засувку запобіжної чеки так, щоб вона вийшла з зачеплення з виступом на ручці, і зняти запобіжну чеку.
- Підняти відкидну ручку в вертикальне положення.
- Протиснути кнопку великим пальцем, до упору.
- Опустити відкидну ручку і замаскувати підривник згори (при необхідності).
Запобіжні чеки й шпильки віддаються командиру відділення.
Встановлення шляхом скидання з автомобіля
Міни можуть встановлюватись з автомобілів, шляхом скидання, з використанням лотків або вручну. Міни встановлюються в залежності від сезонних умов в ґрунт (сніг) з повним маскуванням (як і міни з підривником натискної дії), в ґрунт з маскуванням лише корпусу (мал. 7, а) та на поверхню ґрунту (снігу). При встановленні мін серії ТМ-62 вручну з повним маскуванням - міна маскується без створення бугорка на підривнику.
Зведення підривників МВН-72 (в мінах серії ТМ-62) в бойове положення виконується лише вручну після встановлення міни на місцевості (за схемою встановлення ТМ-72).
Установка мін серії ТМ-62 з підривником МВН-72 з автомобілів та вручну по мінному шнуру та стройовим розрахунком виконується так само як і у випадку з ТМ-72.
При встановленні мін на поверхню ґрунту, розкладкою з автомобіля, зведення підривників в бойове положення виконують в кожному ряді два сапери, рухаючись вслід за автомобілем. Один сапер знімає з підривника пломби, шпильки з проволоки та запобіжні чеки, а також підіймає ручки в вертикальне положення. Другий сапер, слідуючи останнім, маскує міни, протискає кнопки та опускає ручки в бойове положення.
При встановленні мін в ґрунт, розкладкою з автомобіля, зведення підривників в бойове положення і маскування виконує в кожному ряді один сапер, котрий рухається позаду саперів, зайнятих розміщенням мін в ґрунт.
При встановленні мін вручну по мінному шнуру і стройовим розрахунком всі операції з встановлення і зведення виконуються одним сапером.
Рух по мінному полю організовується так, щоб рух саперів повз зведених мін був не ближче, аніж за 2 метри до міни.
Встановлення за допомогою мінних загороджувачів
Мінні поля з мін серії ТМ-62 з підривником МВН-72 можуть встановлюватись з допомогою мінних загороджувачів ПМЗ-4 (ПМР-3) (мал. 8, знизу) або ГМЗ-2 (мал. 8, згори). Цими засобами механізації виконується розкладка мін в ґрунт (сніг) або на поверхню. Міни завантажуються в контейнер ПМЗ-4 (ПМР-3) та загороджувач ГМЗ-3 з запобіжними чеками. Пломби, проволочні шпильки та ручки мін знімаються в процесі завантаження. При розкладці мін з допомогою ПМЗ-4 й ПМР-3 переводні механізми їх підіймаються в неробоче положення.
При встановленні мін серії ТМ-62 з попередньою їх розкладкою загороджувачем ПМЗ-3 в цілях отримання кроку 8 або 11 м міни подаються в лоток в кожен другий інтервал привідного ланцюга, а для отримання кроку 12 м - в кожен третій інтервал привідного ланцюга.
При використанні загороджувачів ГМЗ-2 або ПМР-3 розкладка мін виконується у 2 ряди з кроком 4 або 5.5 м. Для отримання кроку 8 або 11 м міни розносяться після розкладки на 4 ряди.


Знешкодження
Міни з підривником МВН-72: встановлені з маскуванням підривника; з пошкодженим підривником, встановлені в нестійкому положенні - знешкоджувати забороняється.
При критичній необхідності дозволяється знешкоджувати міни з підривником МВН-72, але лише у випадку, якщо верхня частина підривника не замаскована. Пошук мін, при їх знешкодженні, зазвичай проводять візуально. У випадку, якщо візуальне виявлення міни не можливе (висока густа трава) - допускається використання індукційного міношукача ІМП. Сапери, котрі виконують пошук мін і переводять їх в транспортне положення, не повинні мати на собі феромагнітні предмети (зброю, лопати, ножі, сталеві щупи тощо). Їх взуття має бути без сталевих вставок.
Для знешкодження міни з підривником МВН-72 необхідно:
- Обдивитись міну, не торкаючись до неї, та впевнитись: що підривник немає пошкоджень; що поряд з міною (ближче 1 м) немає воронок від вибухів снарядів; згори на міні немає металевих предметів (уламків) і міна займає стійке положення (якщо стан міни не відповідає цим критеріям - таку міну знімати забороняється, вона знищується на місці.
- Утримуючи підривник міни лівою рукою так, щоб підривник і міна не могли зрушити з місця, правою рукою підняти відкидну ручку на підривнику в вертикальне положення і повернути її за рухом годинникової стрілки (напрям вказано на кришці міни) до упору; при цьому кнопка має піднятись і буде чутно клацання (якщо при оберті ручки кнопка не піднялась - таку міну знімати забороняється, вона знищується на місці).
- Після клацання повернути ручку у зворотню сторону (проти ходу годинникової стрілки) і відкинути її в горизонтальне положення, в поглиблення в корпусі підривника.
- Встановити під кнопку запобіжну чеку так, щоб засувка чеки “одяглась” отвором на виступ на відкидній ручці, і закріпити чеку шпилькою з проволоки (або тонкою проволокою).
- Зняти міну з місця встановлення і віднести її в призначене місце.
Якщо міни необхідно передати на склад, то підривники МВН-72 з мін викручуються. З підривників видаляються елементи живлення. Міни та підривники вкладаються окремо в пакування і передаються на склад.
Для знешкодження мін з підривником МВН-72 в мінному полі (за умов безпеки) рекомендується наступна організація робіт. Для пошуку мін і переводу підривників в транспортне положення на кожний ряд назначається розрахунок з двох чоловіків.
1-й номер розрахунку, рухається вздовж ряду і відміряє крок мінування кроками, вишукує міни, піднімає і провертає відкидні ручки підривників (заводить годинниковий механізм), таким чином переводячи підривники в безпечне положення. Для того, щоб наступний за ним 2-й номер міг відрізнити міни, приведені в безпечне положення, 1-й номер не провертає відкидні ручки у зворотнє положення, а залишає їх піднятими вертикально.
2-й номер, маючи при собі запобіжні чеки, провертає ручки у зворотню сторону, відкидає їх в горизонтальне положення, встановлює запобіжні чеки, закріплює їх проволочними шпильками й ставить міни на ребро.
Для переміщення мін, приведених в транспортне положення, назначається окремий розрахунок.
Забороняється при переводі підривників в транспортне положення прибирати від міни або підносити до неї будь-які сталеві предмети. Металева запобіжна чека встановлюється на підривник тільки після переводу його в безпечне положення (після підйому кнопки).
Міни, зняті з мінного поля, можуть бути використані для вторинного встановлення з заміною елементів живлення свіжими.
Міни, встановленні з повним маскуванням, при необхідності розмінування знищуються траленням електромагнітними тралами або підриванням накладних зарядів.
Забороняється тралення мін з підривниками МВН-72 колійними катковими та ножовими тралами, позаяк міни, що потрапили в міжколійний простір під тралом можуть не спрацювати, але вибухнути під дном танку.
Пошук мін, встановлених з повним маскуванням (при їх знищенні накладними зарядами) виконується з допомогою міношукача ІМП.
Забороняється використовувати щуп (навіть не сталевий) для уточнення розташування встановленої міни, позаяк зрушення міни з місця, при натисканні на неї щупом, може викликати спрацювання міни.
Виявлені міни знищуються послідовно, по одній, вибухами накладних зарядів масою не менше 0.4 кг. Заряд на міну вкладається на маскувальних шар або на корпус міни поряд з підривником (якщо міна встановлена без маскування підривника). Підрив заряду виконується електричним або вогневим способом. При вогневому варіанті використовуються запалюючі трубки ЗТП з тертковим запалювачем (мал. 9) або трубки, виготовлені у військах.
Забороняється використання запалюючих трубок ЗТП з механічними запалювачами, виготовленими зі сталі.
